Karosérie Suzuki samurai
- [25.1. 2026]Smazat/ Upravit/ Topovat





























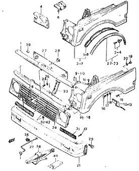
Prodám karoserii na Suzuki samuraj 1.0 1.3 1.9.kratky long celoplech kabrio hartop.skladem většina mechanických dílů . Můžete případně dle obrázku napsat který díl potřebujete.
Na požádání tabulka s obrázky dostupné karosérie včetně cen.
.možnost poslání jen malých věcí ale hlavně osobní vyzvednutí..mam na i použíte díly a můžu je nabídnout zároveň s novými.
Podlaha
Lemy
Blatníky
Celo
Zadní práh výztuha pod Zadními dveřmi
Práhy
Podběhy
Boky
Prostřední tunel
Výztuhy za první řadu sedaček
Kapota
Nárazníky
Rohy nárazníku
Skla
Nádrž
Disky
Výztuhy
Zadní dveře
Boční dveře
Světla
Zástěrky
Prosím koukněte i na moje dalši inzeráty.
Nabídka platí do smazaní.Můžete volat případně EMAIL přípádně WHATSAPP.NEPOSÍLAT SMS!!! Od 7:00 do 19:00 každý den v roce.
Olešnice na Moravě
|
| |||||||||||||||||||||||||||||||
Kontaktovat inzerenta emailem
Kontaktovat emailem může pouze ověřený uživatel.
Ověření je zdarma.
Vaše telefonní číslo *
Kontaktovat emailem může pouze ověřený uživatel.
Ověření je zdarma.
Vaše telefonní číslo *








